Skip to content Skip to sidebar Skip to footer

Widget HTML #1

How To Calculate Internal Resistance Of A Cell : So, it is the sum of the work done to carry the charge through the conducting wire with external resistance (r) and cell with internal resistance (r).

How To Calculate Internal Resistance Of A Cell : So, it is the sum of the work done to carry the charge through the conducting wire with external resistance (r) and cell with internal resistance (r).. What is internal resistance of ideal current source? This has a negative value. The relationship between internal resistance denoted by r and emf denoted by e of a cell is given by that are: On rearranging the above equation we get; Can the internal resistance be negative?

First, determine the electromotive force. Nov 11, 2019 · emf is the work done by the cell to carry a unit charge through the closed circuit. The internal resistance of the cell is the same value but without the negative sign. Internal resistance is measured in ohms. The relationship between internal resistance denoted by r and emf denoted by e of a cell is given by that are:

Electromotive Force Terminal Voltage Physics
Electromotive Force Terminal Voltage Physics from s3-us-west-2.amazonaws.com
E = i (r + r) On rearranging the above equation we get; What is the internal resistance of leclanche cell? The internal resistance of the cell is the same value but without the negative sign. Can the internal resistance be negative? To find the internal resistance of the cell the gradient of the line is calculated. E = electromotive force in volts, v i = current in amperes, a r = resistance of the load in the circuit in ohms, w Finally, calculate the internal resistance.

This has a negative value.

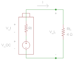
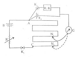
This has a negative value. Internal resistance is measured in ohms. When electricity flows round a circuit the internal resistance of the cell itself resists the flow of current and so thermal (heat) energy is wasted in the cell itself. Can the internal resistance be negative? What is battery internal resistance? Since the current flows, this time the balancing length is smaller. To find the internal resistance of the cell the gradient of the line is calculated. The internal resistance of the cell is the same value but without the negative sign. To calculate internal resistance, we use a potentiometer to first calculate the voltage across the battery, with no current through it. Electromotive force (volts), i = current (a), r = load resistance, and r is the internal resistance of cell measured in ohms. Then we attach a resistor in parallel to the battery and recalculate the voltage across it. E = ir + ir or, e = v + ir What is internal resistance of ideal current source?

Next, determine the load resistance. E = i (r + r) So, it is the sum of the work done to carry the charge through the conducting wire with external resistance (r) and cell with internal resistance (r). The internal resistance of the cell is the same value but without the negative sign. This has a negative value.

Write The Principle Of Working Of A Potentiometer Describe Briefly With The Help Of A Circuit Diagram How A Potentiometer Is Used To Determine The Int Physics Topperlearning Com Zlfiycuoo
Write The Principle Of Working Of A Potentiometer Describe Briefly With The Help Of A Circuit Diagram How A Potentiometer Is Used To Determine The Int Physics Topperlearning Com Zlfiycuoo from images.topperlearning.com
To find the internal resistance of the cell the gradient of the line is calculated. E = ir + ir or, e = v + ir The relationship between internal resistance (r) and emf (e) of cell s given by. E = i (r + r) E = electromotive force in volts, v i = current in amperes, a r = resistance of the load in the circuit in ohms, w Finally, calculate the internal resistance. E = i (r + r) where, e = emf i.e. Then we attach a resistor in parallel to the battery and recalculate the voltage across it.

Then we attach a resistor in parallel to the battery and recalculate the voltage across it.

Internal resistance is measured in ohms. This has a negative value. To calculate internal resistance, we use a potentiometer to first calculate the voltage across the battery, with no current through it. The relationship between internal resistance denoted by r and emf denoted by e of a cell is given by that are: When electricity flows round a circuit the internal resistance of the cell itself resists the flow of current and so thermal (heat) energy is wasted in the cell itself. Since the current flows, this time the balancing length is smaller. Nov 11, 2019 · emf is the work done by the cell to carry a unit charge through the closed circuit. E = ir + ir or, e = v + ir E = electromotive force in volts, v i = current in amperes, a r = resistance of the load in the circuit in ohms, w Then we attach a resistor in parallel to the battery and recalculate the voltage across it. E = i (r + r) The relationship between internal resistance (r) and emf (e) of cell s given by. The internal resistance of the cell is the same value but without the negative sign.

E = i (r + r) where, e = emf i.e. On rearranging the above equation we get; The relationship between internal resistance denoted by r and emf denoted by e of a cell is given by that are: What is internal resistance of ideal current source? Internal resistance is measured in ohms.

A Cell Of Emf Epsilon And Internal Resistance R Gives A Current
A Cell Of Emf Epsilon And Internal Resistance R Gives A Current from doubtnut-static.s.llnwi.net
Finally, calculate the internal resistance. E = i (r + r) where, e = emf i.e. Can the internal resistance be negative? Next, determine the load resistance. E = electromotive force in volts, v i = current in amperes, a r = resistance of the load in the circuit in ohms, w What is battery internal resistance? Internal resistance is measured in ohms. What is internal resistance of ideal current source?

Since the current flows, this time the balancing length is smaller.

This has a negative value. What is internal resistance of ideal current source? The relationship between internal resistance (r) and emf (e) of cell s given by. To calculate internal resistance, we use a potentiometer to first calculate the voltage across the battery, with no current through it. E = i (r + r) where, e = emf i.e. E = ir + ir or, e = v + ir Finally, calculate the internal resistance. Can the internal resistance be negative? What is battery internal resistance? E = i (r + r) Nov 11, 2019 · emf is the work done by the cell to carry a unit charge through the closed circuit. The relationship between internal resistance denoted by r and emf denoted by e of a cell is given by that are: So, it is the sum of the work done to carry the charge through the conducting wire with external resistance (r) and cell with internal resistance (r).

Internal resistance is measured in ohms how to calculate internal resistance. Then we attach a resistor in parallel to the battery and recalculate the voltage across it.